Overview
- Pressure relief valve V185
- PTFE diaphragm
- injection moulded
- Butt + IR-welding
- PVDF UHP natural
** On request.
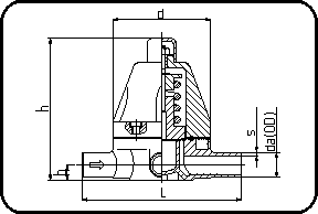
| Dimension | Code | Detail |
da(OD) mm |
da inch |
s mm |
L mm |
d mm |
h mm |
b mm |
p bar |
DN mm |
Weight | ||||||||||||||||||
|---|---|---|---|---|---|---|---|---|---|---|---|---|---|---|---|---|---|---|---|---|---|---|---|---|---|---|---|---|---|---|
| 20 | 35.245.0020.21 | 20 - SDR21 MOP 10 bar | 20 | 0 | 0.3 | 0,5 | 0 | 0 | 1,9 | 0 | 0.4 | 158 | 0 | 0 | 83 | 0 | 0 | 137 | 0 | 0 | 20 | 0 | 0 | 10 | 0 | 0 | 15 | 0 | 0 | 0.700 |
| 25 | 35.245.0025.21 | 25 - SDR21 MOP 10 bar | 25 | 0 | 0.3 | 0,75 | 0 | 0 | 1,9 | 0 | 0.4 | 158 | 0 | 0 | 83 | 0 | 0 | 137 | 0 | 0 | 20 | 0 | 0 | 10 | 0 | 0 | 20 | 0 | 0 | 0.700 |
| 32 | 35.245.0032.21 | 32 - SDR21 MOP 10 bar | 32 | 0 | 0.3 | 1 | 0 | 0 | 2,4 | 0 | 0.5 | 198 | 0 | 0 | 112 | 0 | 0 | 199 | 0 | 0 | 27 | 0 | 0 | 10 | 0 | 0 | 25 | 0 | 0 | 1.439 |
| 40 | 35.245.0040.21 | 40 - SDR21 MOP 10 bar | 40 | 0 | 0.4 | 1,25 | 0 | 0 | 2,4 | 0 | 0.5 | 202 | 0 | 0 | 112 | 0 | 0 | 199 | 0 | 0 | 27 | 0 | 0 | 10 | 0 | 0 | 32 | 0 | 0 | 1.700 |
| 50 | 35.245.0050.21 | 50 - SDR21 MOP 10 bar | 50 | 0 | 0.4 | 1,5 | 0 | 0 | 3 | 0 | 0.6 | 256 | 0 | 0 | 165 | 0 | 0 | 290 | 0 | 0 | 43 | 0 | 0 | 10 | 0 | 0 | 40 | 0 | 0 | 7.380 |
| 63 | 35.245.0063.21 | 63 - SDR21 MOP 10 bar | 63 | 0 | 0.4 | 2 | 0 | 0 | 3 | 0 | 0.6 | 256 | 0 | 0 | 165 | 0 | 0 | 290 | 0 | 0 | 43 | 0 | 0 | 10 | 0 | 0 | 50 | 0 | 0 | 8.300 |